中国农业科技导报 ›› 2025, Vol. 27 ›› Issue (9): 131-144.DOI: 10.13304/j.nykjdb.2024.0266

• 智慧农业 农机装备 • 上一篇    下一篇

自走式大蒜正芽播种施肥机设计与试验

代祥1,2(), 宋海潮1(), 苏川1   

  1. 1.南京工业职业技术大学机械工程学院,南京 210023
    2.江苏省精密制造技术工程研发中心,南京 210023
  • 收稿日期:2024-04-02 接受日期:2024-07-02 出版日期:2025-09-15 发布日期:2025-09-24
  • 通讯作者: 宋海潮
  • 作者简介:代祥 E-mail: 18852089528@139.com
  • 基金资助:
    江苏中晚熟大蒜产业集群建设项目(HK21-53-35);2021江苏省高校优秀科技创新团队项目(21CXTD-01);江苏省现代农机装备与技术示范推广项目(NJ2023-28);江苏省高等学校基础科学(自然科学)研究面上项目(25-318);江苏省工业感知及智能制造装备工程研究中心开放基金项目(ZK21-05-16)

Design and Experiment of Self-propelled Garlic Vertically-planting and Fertilizing Integrated Machine

Xiang DAI1,2(), Haichao SONG1(), Chuan SU1   

  1. 1.College of Mechanical Engineering,Nanjing University of Industry Technology,Nanjing 210023,China
    2.Jiangsu Province Precision Manufacturing Engineering and Technology Research Center,Nanjing 210023,China
  • Received:2024-04-02 Accepted:2024-07-02 Online:2025-09-15 Published:2025-09-24
  • Contact: Haichao SONG

摘要:

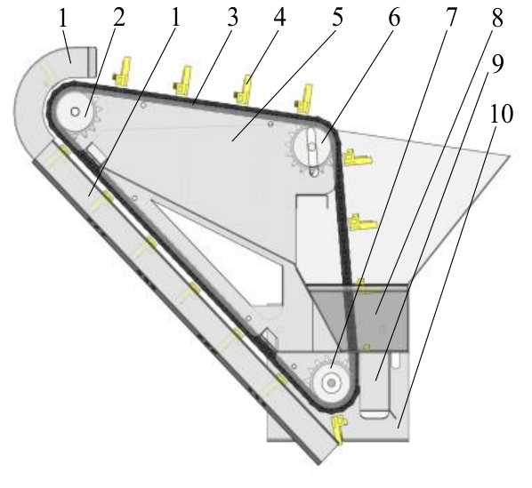
针对当前大蒜种植机械化程度低的现状,设计了一款自走式大蒜正芽播种施肥一体化机具,并进行了初步的田间试验。机具采用链勺方式实现大蒜单粒取种和输送,采用平行四连杆和双鸭嘴结构实现正芽栽植,采用外槽轮排肥器实现肥料供给,基于液压装置实现后尾架及其附属单粒取种和正芽栽植系统举升,满足运输和播施状态切换,并具有机具原位调头能力。在大蒜种植株距为120 mm,正芽栽植器周向安装6只插播鸭嘴条件下,确定栽植圆盘半径为162.5 mm,并据此设计鸭嘴打开圆盘边缘曲线;基于ANSYS Workbench,在评估机架静力学、模态及频率响应的基础上对机架和后尾架组合体进行型材优选,实现结构性能提升和减重。田间试验结果表明,机具整体上适宜播种深度约为6 cm,不宜将其用于较浅深度下的播种作业;播种深度为6 cm条件下,播种速度高于15 m·min-1时重播率低于3.0%,播种速度大于18 m·min-1时漏播率高于5%,机具适宜播种速度约15 m·min-1;此时,对应机具播种正芽率高于85%,播深合格率高于90%,能有效保证符合深度的大蒜正芽栽植;较大的预设施肥深度能够取得更高的施肥稳定系数,当施肥深度大于5 cm时,施肥稳定系数接近0.95,施肥稳定性较好。整机在播施功能的实现上达到了预定要求。

关键词: 大蒜正芽播种, 播施一体, 自走式, 结构优化, 田间试验

Abstract:

Taking into account the current low mechanization status of garlic planting, a self-propelled garlic vertically-planting and fertilizing integrated machine was invented, and early field experiments were conducted. The machine used seed spoons and garlic chains to work together to fetch and transport each of the garlic seeds, and used a parallel four-link structure to vertically plant the garlic seeds and an outer groove wheel fertilizer discharger to achieve fertilizer supply. By using a hydraulic system, the single-seed picking system and the garlic vertically-planting system attached to the rear tailstock frame could meet the needs of switching between transportation and planting states, and the whole machine could be held up to accomplish in-situ turning. The radius of the planting disc was determined to be 162.5 mm when the distance between garlic plants was 120 mm and 6 duck beaks were installed in the circumferential direction of the vertically-planting system, and the edge curve of the duck beak opening disc was determined accordingly. In order to increase structural performance and save weight, the frame and tailstock assembly were profile-optimized using ANSYS Workbench based on the study of the frame’s statics, modal and frequency response. Field experiments showed that the machine’s appropriate planting depth was about 6 cm, and it shouldn’t be utilized for planting operations at lesser depths. In the circumstance of seeding depth of 6 cm, when the planting rate was greater than 15 m·min-1, the reseeding rate was less than 3.0%, and when the planting rate was greater than 18 m·min-1, the missing planting rate was greater than 5%. Overall, the machine’s acceptable planting rate was about 15 m·min-1, with the corresponding vertically planting rate about 85%, and the pass rate of planting depth generally greater than 90%, which effectively ensured that the garlic seeds could be vertically planted in appropriate planting depth. When the fertilization depth was greater than 5 cm, the fertilization stability coefficient was close to 0.95, indicating that relatively strong fertilization stability could be attained. The entire machine had met the predetermined conditions in the vertically-planting and fertilizing integrated function.

Key words: vertically-planting of garlic, planting and fertilizing integrated, self-propelled, structural optimization, field experiments

中图分类号: