Journal of Agricultural Science and Technology ›› 2023, Vol. 25 ›› Issue (10): 99-108.DOI: 10.13304/j.nykjdb.2022.0405
• INTELLIGENT AGRICULTURE & AGRICULTURAL MACHINERY • Previous Articles Next Articles
Yuyue LIANG1,2(), Kan ZHENG2, Junfang XIA2(
)
Received:
2022-05-16
Accepted:
2022-07-23
Online:
2023-10-15
Published:
2023-10-27
Contact:
Junfang XIA
通讯作者:
夏俊芳
作者简介:
梁玉玥 E-mail: 274655882@qq.com;
基金资助:
CLC Number:
Yuyue LIANG, Kan ZHENG, Junfang XIA. Performance Simulation and Experiment on Detection and Seed Blowing Device for Rice and Wheat Seeding Device[J]. Journal of Agricultural Science and Technology, 2023, 25(10): 99-108.
梁玉玥, 郑侃, 夏俊芳. 稻麦兼用排种器检测与吹种装置性能模拟与试验[J]. 中国农业科技导报, 2023, 25(10): 99-108.
Add to citation manager EndNote|Ris|BibTeX
URL: https://nkdb.magtechjournal.com/EN/10.13304/j.nykjdb.2022.0405
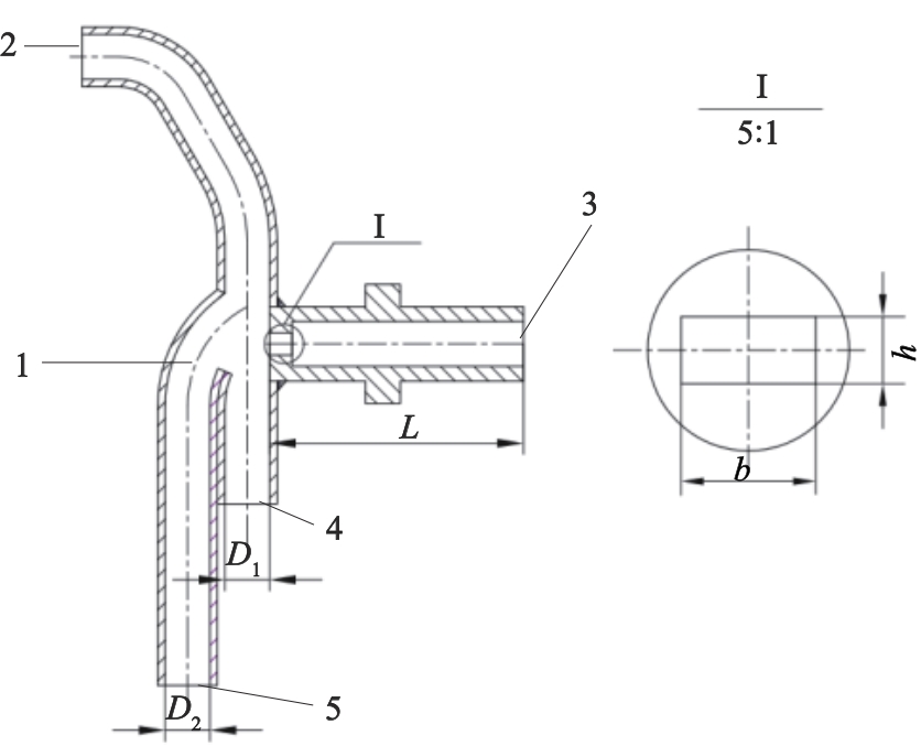
Fig. 1 Structure of seed metering deviceNote:1—Seed supply device; 2—Hopper; 3—Spiral guide; 4—Solenoid valve; 5—Sorting tube; 6—Photoelectric sensor; 7—Blow nozzle valve; 8—Seed filling tube; 9—Tank return seed; 10—Up seed plate; 11—Lower seed plate.
Fig. 3 Blowing deviceNote:1—Gas-solid two phase flow mixing pipeline; 2—Seeds entrance; 3—Air inlet; 4—Parting outlet; 5—Gas-solid two phase flow outlet.
喷嘴 Nozzle tube | 长度 Length | 宽度 Width | 高度 Height |
---|---|---|---|
Type 1 | 18 | 5 | 5 |
Type 2 | 18 | 6 | 4 |
Type 3 | 18 | 7 | 3 |
Table 1 Structural parameters of nozzle tubes with different cross-sectional areas
喷嘴 Nozzle tube | 长度 Length | 宽度 Width | 高度 Height |
---|---|---|---|
Type 1 | 18 | 5 | 5 |
Type 2 | 18 | 6 | 4 |
Type 3 | 18 | 7 | 3 |
Fig. 5 Grid of blowing-deviceNote:1—Air pressure inlet; 2—Air velocity inlet; 3—Gas-solid two phase flow pressure outlet; 4—Discharge pressure outlet.
水平 Level | 气流入口压力 Air inlet pressure/Pa | 工作转速 Working speed/(r∙min-1) |
---|---|---|
1 | 100 | 12 |
2 | 300 | 20 |
3 | 500 | 28 |
Table 2 Simulation test design level
水平 Level | 气流入口压力 Air inlet pressure/Pa | 工作转速 Working speed/(r∙min-1) |
---|---|---|
1 | 100 | 12 |
2 | 300 | 20 |
3 | 500 | 28 |
气流入口压力 Air inlet pressure/Pa | 工作转速 Working speed/(r∙min-1) | 水稻响应值 Rice response value/N | 小麦响应值 Wheat response value/N | ||||
---|---|---|---|---|---|---|---|
Fz | Fx | FP | Fz | Fx | FP | ||
100 | 12 | 2.03×10-4 | 2.17×10-3 | 2.18×10-3 | 8.75×10-5 | 9.76×10-4 | 9.80×10-4 |
300 | 12 | 2.07×10-4 | 3.21×10-3 | 3.22×10-3 | 9.06×10-5 | 1.64×10-3 | 1.64×10-3 |
500 | 12 | 2.13×10-4 | 4.24×10-3 | 4.25×10-3 | 9.41×10-5 | 3.01×10-3 | 3.01×10-3 |
100 | 20 | 2.07×10-4 | 2.23×10-3 | 2.24×10-3 | 1.13×10-4 | 7.01×10-4 | 7.10×10-4 |
300 | 20 | 2.16×10-4 | 3.41×10-3 | 3.42×10-3 | 1.26×10-4 | 2.44×10-3 | 2.45×10-3 |
500 | 20 | 2.18×10-4 | 5.37×10-3 | 5.47×10-3 | 1.19×10-4 | 3.82×10-3 | 3.85×10-3 |
100 | 28 | 2.21×10-4 | 2.25×10-3 | 2.28×10-3 | 1.24×10-4 | 1.32×10-3 | 1.35×10-3 |
300 | 28 | 2.34×10-4 | 4.36×10-3 | 4.36×10-3 | 1.31×10-4 | 3.98×10-3 | 4.00×10-3 |
500 | 28 | 2.28×10-4 | 6.51×10-3 | 6.53×10-3 | 1.28×10-4 | 5.38×10-3 | 5.39×10-3 |
Table 3 Seed stress under different airflow inlet pressure and working speed
气流入口压力 Air inlet pressure/Pa | 工作转速 Working speed/(r∙min-1) | 水稻响应值 Rice response value/N | 小麦响应值 Wheat response value/N | ||||
---|---|---|---|---|---|---|---|
Fz | Fx | FP | Fz | Fx | FP | ||
100 | 12 | 2.03×10-4 | 2.17×10-3 | 2.18×10-3 | 8.75×10-5 | 9.76×10-4 | 9.80×10-4 |
300 | 12 | 2.07×10-4 | 3.21×10-3 | 3.22×10-3 | 9.06×10-5 | 1.64×10-3 | 1.64×10-3 |
500 | 12 | 2.13×10-4 | 4.24×10-3 | 4.25×10-3 | 9.41×10-5 | 3.01×10-3 | 3.01×10-3 |
100 | 20 | 2.07×10-4 | 2.23×10-3 | 2.24×10-3 | 1.13×10-4 | 7.01×10-4 | 7.10×10-4 |
300 | 20 | 2.16×10-4 | 3.41×10-3 | 3.42×10-3 | 1.26×10-4 | 2.44×10-3 | 2.45×10-3 |
500 | 20 | 2.18×10-4 | 5.37×10-3 | 5.47×10-3 | 1.19×10-4 | 3.82×10-3 | 3.85×10-3 |
100 | 28 | 2.21×10-4 | 2.25×10-3 | 2.28×10-3 | 1.24×10-4 | 1.32×10-3 | 1.35×10-3 |
300 | 28 | 2.34×10-4 | 4.36×10-3 | 4.36×10-3 | 1.31×10-4 | 3.98×10-3 | 4.00×10-3 |
500 | 28 | 2.28×10-4 | 6.51×10-3 | 6.53×10-3 | 1.28×10-4 | 5.38×10-3 | 5.39×10-3 |
作物 Crop | 方差来源 Source of variance | 平方和 Sum of squared | 自由度 Degree of freedom | F值 F value | P值 P value |
---|---|---|---|---|---|
水稻 Rice | 工作转速 Working speed/(r∙min-1) | 1.37×10-5 | 2 | 35.01 | 0.002 9** |
入口压力 Air inlet pressure/Pa | 2.81×10-6 | 2 | 7.22 | 0.047 1* | |
误差 Error | 7.80×10-7 | 4 | |||
总和 Sum | 1.72×10-5 | 8 | |||
小麦 Wheat | 工作转速 Working speed/(r∙min-1) | 1.42×10-5 | 2 | 21.20 | 0.007 4** |
入口压力 Air inlet pressure/Pa | 4.66×10-6 | 2 | 6.97 | 0.049 8* | |
误差 Error | 1.34×10-6 | 4 | |||
总和 Sum | 2.02×10-5 | 8 |
Table 4 Variance analysis on various factors on force
作物 Crop | 方差来源 Source of variance | 平方和 Sum of squared | 自由度 Degree of freedom | F值 F value | P值 P value |
---|---|---|---|---|---|
水稻 Rice | 工作转速 Working speed/(r∙min-1) | 1.37×10-5 | 2 | 35.01 | 0.002 9** |
入口压力 Air inlet pressure/Pa | 2.81×10-6 | 2 | 7.22 | 0.047 1* | |
误差 Error | 7.80×10-7 | 4 | |||
总和 Sum | 1.72×10-5 | 8 | |||
小麦 Wheat | 工作转速 Working speed/(r∙min-1) | 1.42×10-5 | 2 | 21.20 | 0.007 4** |
入口压力 Air inlet pressure/Pa | 4.66×10-6 | 2 | 6.97 | 0.049 8* | |
误差 Error | 1.34×10-6 | 4 | |||
总和 Sum | 2.02×10-5 | 8 |
气流入口压力 Air inlet pressure/Pa | 工作转速 Working speed/(r∙min-1) | 水稻响应值 Rice response value/(m∙s-1) | 小麦响应值 Wheat response value/(m∙s-1) | ||||
---|---|---|---|---|---|---|---|
vx | vz | vp | vx | vz | vp | ||
100 | 12 | 20.14 | 1.04 | 20.17 | 22.22 | 1.13 | 22.25 |
300 | 12 | 23.51 | 1.19 | 23.54 | 25.76 | 1.24 | 25.79 |
500 | 12 | 26.68 | 1.25 | 26.71 | 28.98 | 1.28 | 29.01 |
100 | 20 | 23.42 | 1.43 | 23.46 | 24.10 | 1.45 | 24.14 |
300 | 20 | 27.92 | 1.48 | 26.57 | 28.58 | 1.54 | 28.62 |
500 | 20 | 29.30 | 1.52 | 29.34 | 30.99 | 1.63 | 31.03 |
100 | 28 | 26.29 | 1.67 | 26.34 | 27.40 | 1.82 | 27.46 |
300 | 28 | 28.76 | 1.74 | 28.81 | 30.79 | 1.79 | 30.84 |
500 | 28 | 30.67 | 1.75 | 30.72 | 33.10 | 1.88 | 33.15 |
Table 5 Mean velocity under different airflow inlet pressure and working speed
气流入口压力 Air inlet pressure/Pa | 工作转速 Working speed/(r∙min-1) | 水稻响应值 Rice response value/(m∙s-1) | 小麦响应值 Wheat response value/(m∙s-1) | ||||
---|---|---|---|---|---|---|---|
vx | vz | vp | vx | vz | vp | ||
100 | 12 | 20.14 | 1.04 | 20.17 | 22.22 | 1.13 | 22.25 |
300 | 12 | 23.51 | 1.19 | 23.54 | 25.76 | 1.24 | 25.79 |
500 | 12 | 26.68 | 1.25 | 26.71 | 28.98 | 1.28 | 29.01 |
100 | 20 | 23.42 | 1.43 | 23.46 | 24.10 | 1.45 | 24.14 |
300 | 20 | 27.92 | 1.48 | 26.57 | 28.58 | 1.54 | 28.62 |
500 | 20 | 29.30 | 1.52 | 29.34 | 30.99 | 1.63 | 31.03 |
100 | 28 | 26.29 | 1.67 | 26.34 | 27.40 | 1.82 | 27.46 |
300 | 28 | 28.76 | 1.74 | 28.81 | 30.79 | 1.79 | 30.84 |
500 | 28 | 30.67 | 1.75 | 30.72 | 33.10 | 1.88 | 33.15 |
作物 Crop | 方差来源 Source of variance | 平方和 Sum of squared | 自由度 Degree of freedom | F值 F value | P值 P value |
---|---|---|---|---|---|
水稻 Rice | 工作转速 Working speed/(r∙min-1) | 47.11 | 2 | 76.21 | 0.000 7** |
入口压力 Air inlet pressure/Pa | 40.12 | 2 | 64.91 | 0.000 9** | |
误差 Error | 1.24 | 4 | |||
总和 Sum | 88.46 | 8 | |||
小麦 Wheat | 工作转速 Working speed/(r∙min-1) | 63.00 | 2 | 182.47 | 0.000 1** |
入口压力 Air inlet pressure/Pa | 34.61 | 2 | 100.22 | 0.000 3** | |
误差 Error | 0.69 | 4 | |||
总和 Sum | 98.30 | 8 |
Table 6 Variance analysis on various factors on velocity
作物 Crop | 方差来源 Source of variance | 平方和 Sum of squared | 自由度 Degree of freedom | F值 F value | P值 P value |
---|---|---|---|---|---|
水稻 Rice | 工作转速 Working speed/(r∙min-1) | 47.11 | 2 | 76.21 | 0.000 7** |
入口压力 Air inlet pressure/Pa | 40.12 | 2 | 64.91 | 0.000 9** | |
误差 Error | 1.24 | 4 | |||
总和 Sum | 88.46 | 8 | |||
小麦 Wheat | 工作转速 Working speed/(r∙min-1) | 63.00 | 2 | 182.47 | 0.000 1** |
入口压力 Air inlet pressure/Pa | 34.61 | 2 | 100.22 | 0.000 3** | |
误差 Error | 0.69 | 4 | |||
总和 Sum | 98.30 | 8 |
时间间隔 Time interval | 水稻 Rice | 小麦 Wheat |
---|---|---|
Δt1 | 11.1 | 8.0 |
Δt2 | 7.0 | 8.0 |
Δt3 | 10.1 | 7.2 |
Δt4 | 9.0 | 9.8 |
Δt5 | 10.2 | 9.7 |
Table 7 Seed spacing time
时间间隔 Time interval | 水稻 Rice | 小麦 Wheat |
---|---|---|
Δt1 | 11.1 | 8.0 |
Δt2 | 7.0 | 8.0 |
Δt3 | 10.1 | 7.2 |
Δt4 | 9.0 | 9.8 |
Δt5 | 10.2 | 9.7 |
延时时间 Time interval/ms | 水稻吹种数量 Number of blown rice seeds | 小麦吹种数量 Number of blown wheat seeds |
---|---|---|
10 | 111.8 | 201.2 |
11 | 385.6 | 211.4 |
12 | 477.4 | 424.6 |
13 | 300.2 | 399.8 |
14 | 251.4 | 287.4 |
Table 8 Number of seed blowing under different delay time between grains
延时时间 Time interval/ms | 水稻吹种数量 Number of blown rice seeds | 小麦吹种数量 Number of blown wheat seeds |
---|---|---|
10 | 111.8 | 201.2 |
11 | 385.6 | 211.4 |
12 | 477.4 | 424.6 |
13 | 300.2 | 399.8 |
14 | 251.4 | 287.4 |
1 | 丛锦玲,廖庆喜,曹秀英,等.油菜小麦兼用排种盘的排种器充种性能[J].农业工程学报,2014,30(8):30-39. |
CONG J L, LIAO Q X, CAO X Y, et al.. Seed filling performance of dual-purpose seed plate in metering device for both rapeseed & wheat seed [J]. Trans. Chin. Soc. Agric. Eng., 2014, 30(8):30-39. | |
2 | 邢赫,臧英,王在满,等.水稻气力式分层充种室设计与试验[J].农业工程学报,2016,32(8):9-17. |
XING H, ZANG Y, WANG Z M, et al.. Design and experiment of stratified seed-filling room on rice pneumatic device [J]. Trans. Chin. Soc. Agric. Eng., 2016, 32(8):9-17. | |
3 | 黄明涛.水稻机械化插秧技术分析与种植机械发展趋势探究[J].黑龙江科技信息,2016(3):261. |
4 | DICAJI H Z, TAHERI M R Y, MINAEI S. Air-jet seed knockout device for pneumatic precision planters [J]. Agric. Mech. Africa Latin Am., 2010, 41(1):45-50. |
5 | TOPAKCI M, KARAYEL D, CANAKCI M, et al.. Sesame hill dropping performance of a vacuum seeder for different tillage practices [J]. Appl. Eng. Agric., 2011, 27(2):203-209. |
6 | FURUHATA M, CHOSA T, SHIOYA Y, et al.. Developing direct seeding cultivation using an air assisted strip seeder [J]. Japan Agric. Res. Quarterly, 2015, 49(3):227-233. |
7 | 戴志刚,周先竹,王忠良,等.小麦-水稻轮作种植模式下秸秆机械化粉碎还田技术[J].农技服务,2014,31(11):34-35. |
8 | RAJAIAH P, MANI I, KUMAR A, et al.. Development and evaluation of electronically controlled precision seed-metering device for direct-seeded paddy planter [J]. Indian J. Agric. Sci., 2016, 86(5):598-604. |
9 | 梅志雄,夏俊芳,张居敏,等.稻麦两用螺旋舀种式排种器排种性能试验[J].华中农业大学学报,2020,39(5):136-146. |
MEI Z X, XIA J F, ZHANG J M, et al.. Seeding performance of seed metering device with spiral tube scooping for rice and wheat [J]. J. Huazhong Agric. Univ., 2020, 39(5):136-146. | |
10 | 杜俊,夏俊芳,张居敏,等.稻麦兼用型气力滚筒精量排种器设计与试验[J].华中农业大学学报,2020,39(3):127-134. |
DU J, XIA J F, ZHANG J M, et al.. Design and experiment of pneumatic drum type metering device for rice and wheat [J]. J. Huazhong Agric. Univ., 2020, 39(3):127-134. | |
11 | 何丽楠,赵明明,赵天才,等.稻麦兼用螺旋槽式排种器的设计与试验[J].湖南农业大学学报(自然科学版), 2019, 45(6):657-663. |
HE L N, ZHAO M M, ZHAO T C, et al.. Design and experimental of the spiral trough seed metering for rice and wheat [J]. J. Hunan Agric. Univ. (Nat. Sci.), 2019, 45(6):657-663. | |
12 | 唐楠锐,周勇,张国忠,等.搅种型孔式水稻穴播排种器的性能模拟与试验[J].中国农业科技导报,2022,24(4):107-115. |
TANG N R, ZHOU Y, ZHANG G Z, et al.. Performance simulation and experiment of stirred and bunch rice seeding device [J]. J. Agric. Sci. Technol., 2022, 24(4):107-115. | |
13 | 曹成茂,秦宽,王安民,等.水稻直播机气吹辅助勺轮式排种器设计与试验[J].农业机械学报,2015,46(1):66-72. |
CAO C M, QIN K, WANG A M, et al.. Design and experiment on rice hill seeder with air-blowing special hole and scoop-wheel [J]. Trans. Chin. Soc. Agric. Mach., 2015, 46(1):66-72. | |
14 | 赵晓顺,于华丽,马跃进,等.负压式小麦精量排种器参数优化与试验[J].农业工程学报,2017,33(11):11-18. |
ZHAO X S, YU H L, MA Y J, et al.. Parameter optimization and experiment of negative pressure precision seed-metering device for wheat [J]. Trans. Chin. Soc. Agric. Eng., 2017, 33(11):11-18. | |
15 | 赵金,郑超,张晋国,等.差速充种沟式小麦单粒排种器优化设计与试验[J].农业机械学报,2020,51(12):65-74. |
ZHAO J, ZHENG C, ZHANG J G, et al.. Parameter optimization and experiment of differential filling groove single grain seed-metering device for wheat [J]. Trans. Chin. Soc. Agric. Mach., 2020, 51(12):65-74. | |
16 | 梁玉玥,郑侃,杜俊,等.稻麦兼用排种器振动供种装置性能试验[J].沈阳农业大学学报,2021,52(6):708-717. |
LIANG Y Y, ZHENG K, DU J, et al.. Performance test on vibrating feeder of seed metering device [J]. J. Shenyang Agric. Univ., 2021,52(6):708-717. | |
17 | 雷小龙,廖宜涛,王磊,等.油麦兼用型气送式集排器增压管气固两相流仿真与参数优化 [J].农业工程学报,2017,33(19):67-75. |
LEI X L, LIAO Y T, WANG L, et al.. Simulation of gas-solid two-phase flow and paramerer optimization of pressurized tube of air-assisted centralized metering device for rapeseed and wheat [J]. Trans. Chin. Soc. Agric. Eng., 2017, 33(19):67-75. | |
18 | 许虎,吴文勇,王振华, 等.基于CFD的斜三通管水力特性分析及流场计算[J].排灌机械工程学报,2020,38(11):1138-1144. |
XU H, WU W Y, WANG Z H, et al.. Hydraulic characteristics analysis and flow field calculation of inclined tee pipes based on CFD [J]. J. Drain. Irri. Mach. Eng., 2020, 38(11):1138-1144. | |
19 | 朱彤,丛锦玲,齐贝贝, 等.机械气力组合式花生精量排种器设计与试验[J].中国机械工程,2020,31(21):2592-2600. |
ZHU T, CONG J L, QI B B, et al.. Design and test of mechanical-pneumatic combined peanut precision metering device [J]. China Mech. Eng., 2020, 31(21):2592-2600. | |
20 | 张甜,蒋乐,李兆东, 等.光纤计数式油菜精量排种器种子流检测系统研究[J].农业机械学报,2023,54(1):64-74, 145. |
ZHANG T, JIANG L, LI Z D, et al.. Study on seed flow detection system of fiber counting precision seed metering device for rape [J]. Trans. Chin. Soc. Agric. Mach., 2023, 54(1):64-74, 145. |
[1] | Jianfeng ZHANG, Wenfeng HOU, Yongqing WU, Kaixu LI, Xiaokun LI. Effects of Nitrogen Fertilizer and Density Interactions on Occurrence of Diseases and Insect Pests and Grain Yield of Rice [J]. Journal of Agricultural Science and Technology, 2025, 27(9): 145-154. |
[2] | Yifan LIU, Shaoshuai LIU, Rui ZANG, Yang LI, Wei LIU, Tingting LI, Danmei LIU, Dengcai LIU, Aili LI, Long MAO, Xiang WANG, Shuaifeng GENG. Analysis of Quality Traits of 168 Wheat Germplasm Resources [J]. Journal of Agricultural Science and Technology, 2025, 27(9): 44-57. |
[3] | Caixia LYU, Yongfu LI, Huinan XIN, Na LI, Ning LAI, Qinglong GENG, Shuhuang CHEN. Effects of Slow Release Nitrogen Fertilizer on Yield of Winter Wheat and Soil Nitrate/Ammonium Nitrogen Under Drip Irrigation [J]. Journal of Agricultural Science and Technology, 2025, 27(8): 179-186. |
[4] | Zhien LIU, Yong HE, Zhicheng WANG, Xiaokang ZHAN, Tingbao WANG, Yaowei LIU, Zhihong TIAN. Identification and Bioinformatics Analysis of Growth Regulating Factor GRF Gene Family in Rice [J]. Journal of Agricultural Science and Technology, 2025, 27(8): 18-27. |
[5] | Zheng WU, Hongyun YANG, Aizhen SUN, Jie KONG, Shumei HUANG. Diagnosis of Potassium Nutrition in Rice Based on CA_MobileViT Model [J]. Journal of Agricultural Science and Technology, 2025, 27(8): 80-88. |
[6] | Qiang ZHU, Zongxian CHE, Heng CUI, Jiudong ZHANG, Xingguo BAO. Effect of Green Manure Replacing Nitrogen Fertilizer on Greenhouse Gases in Wheat Fields [J]. Journal of Agricultural Science and Technology, 2025, 27(7): 182-189. |
[7] | Yi HU, Jie GONG, Wei ZHAO, Rong CHENG, Zhongyu LIU, Shiqing GAO, Yazhen YANG. Identification of PHY Gene Family in Wheat (Triticum aestivum L.)and Their Expression Analysis Under Heat Stress [J]. Journal of Agricultural Science and Technology, 2025, 27(7): 30-43. |
[8] | Lihua SHAO, Peng LI. Proteome Analysis of Rice Response to Gibberella fujikuroi Infection [J]. Journal of Agricultural Science and Technology, 2025, 27(6): 126-135. |
[9] | Sile HU, Yulong BAO, Tubuxinbayaer, Jifeng TAO, Enliang GUO. Chlorophyll Content Inversion of Spring Wheat Based on Unmanned Aerial Vehicle Hyperspectral and Integrated Learning [J]. Journal of Agricultural Science and Technology, 2025, 27(6): 93-103. |
[10] | Shuo SHI, Yu FENG, Liang LI, Rui MENG, Yanze ZHANG, Xiurong YANG. Transcriptome Analysis of Resistance to Sharp Eyespot of Wheat Mediated by Piriformospora indica and Key Genes Screening [J]. Journal of Agricultural Science and Technology, 2025, 27(5): 133-145. |
[11] | Wenting ZHANG, Yang LI, Shi QIU, Guangming LU, Dongshu GUO, Baolong ZHANG, Jinyan WANG. Effects of Badh2 Gene on Rice Quality Based on CRISPR/Cas9 Gene Editing Technology [J]. Journal of Agricultural Science and Technology, 2025, 27(5): 39-48. |
[12] | Zhongzhong DOU, Yiqi LIU. Simulation Analysis of Arc-jaw Type Potato Precision Seed Discharger [J]. Journal of Agricultural Science and Technology, 2025, 27(4): 110-119. |
[13] | Yan WU, Leping ZOU, Huijie SONG, Dandan HU, Kailou LIU, Wanli LIANG. Effect of Controlled-release Nitrogen Fertilizer Combined Urea on Ammonium Nitrogen of Surface Water and Early Rice Yield [J]. Journal of Agricultural Science and Technology, 2025, 27(4): 192-200. |
[14] | Bei MA, Jie GONG, Yinke DU, Yuwei GAN, Rong CHENG, Bo ZHU, Lixia YI, Jinxiu MA, Shiqing GAO. Identification and Expression Analysis of TaINP1 Gene Related to Pollen Pore Development in Wheat [J]. Journal of Agricultural Science and Technology, 2025, 27(4): 22-35. |
[15] | Lintao CHEN, Zhaoxiang LIU, Ying LAN, Xiangwei MOU, Xu MA, Rijun WANG. Research on Rice Variety Identification Based on Hyperspectral Technology and Principal Component Analysis [J]. Journal of Agricultural Science and Technology, 2025, 27(3): 104-111. |
Viewed | ||||||
Full text |
|
|||||
Abstract |
|
|||||