Journal of Agricultural Science and Technology ›› 2025, Vol. 27 ›› Issue (2): 99-107.DOI: 10.13304/j.nykjdb.2024.0351

• INTELLIGENT AGRICULTURE & AGRICULTURAL MACHINERY • Previous Articles     Next Articles

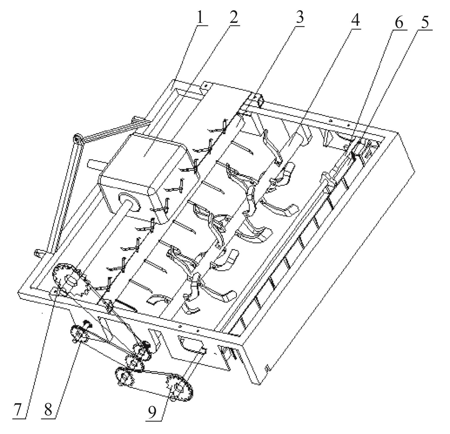
Design and Testing of Film Picking Device for Southern Farmland Residual Film Picking Machine

Yueteng HU(), Lazhen QUAN()   

  1. Hunan Modern Agricultural Equipment Engineering Technology Research Center,College of Mechanical and Electrical Engineering,Hunan Agricultural University,Changsha 410128,China
  • Received:2024-04-30 Accepted:2024-08-25 Online:2025-02-15 Published:2025-02-14
  • Contact: Lazhen QUAN

南方农田残膜捡拾机捡膜装置的设计及试验

胡跃腾(), 全腊珍()   

  1. 湖南农业大学机电工程学院,湖南省现代化农业装备工程技术研究中心,长沙 410128
  • 通讯作者: 全腊珍
  • 作者简介:胡跃腾 E-mail:1006746543@qq.com
  • 基金资助:
    湖南省自然科学基金项目(2019JJ40136);2018年湖南省研究生科研创新项目(CX2018B433)

Abstract:

To efficiently pick up recalcitrant residual film in deep soil of hilly areas in southern China, a simple and high efficient agricultural residual film picking device was designed based on the physical properties, distribution and soil characteristics of residual film. According to the kinematic analysis and simulation results of the 3D model, the optimal design parameters for the curved toothed membrane tying roller in the surface soil layer and the vertical membrane tying tooth group in the deep soil layer were obtained and verified. The experimental prototype were multi-factor test results obtained through simulating soil tank tests, and the optimal parameter combination were obtained with a depth of 30 mm for the surface soil layer membrane component, a machine walking speed of 5 km·h-1 and a power output speed of 450 r·min-1. Under this parameters, the recovery rate of plastic film reached 85.9%, which met the domestic standards for picking up residual film and satisfies the demand for picking up highly fragmented residual film.

Key words: residue film picker, topsoil layer, deep soil layer, residue film picking rate, multi-factor test

摘要:

为高效捡拾我国南方丘陵地区深层土壤中难降解的残留地膜,在分析残膜的物理特性、分布情况以及土壤特性的基础上,设计一款操作简便、高效捡拾的农田残膜捡拾装置。根据三维模型运动学分析及仿真分析结果确定表土层弯齿扎膜滚筒和深土层垂直扎膜齿组的最优设计参数,并进行验证。通过模拟土槽试验得出多因素试验结果,其最优参数组合为表土层扎膜部件入土深度30 mm,机器行走速度5 km·h-1,动力输出转速450 r·min-1。在最优参数组合下,地膜回收率达85.9%,符合国内残膜捡拾标准,满足了捡拾高碎片化程度残膜的需求。

关键词: 残膜捡拾机, 表土层, 深土层, 残膜捡拾率, 多因素试验

CLC Number: